Система спутниковой связи SPADE для коммутируемой службы SCPC
Рисунок 1.12 - Система спутниковой связи SPADE для коммутируемой службы SCPC

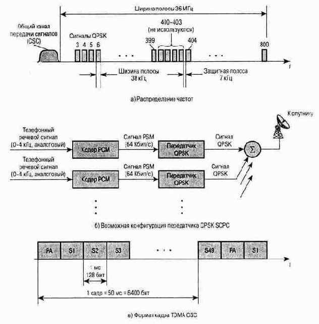
Выделение каналов по требованию осуществляется наземной станцией с помощью канала CSC. Канал CSC используется для передачи повторяющихся кадров TDM, как показано на Рисунок 1.12, в. Кадр разделен на 50 интервалов, первый из которых содержит начальную последовательность битов, требуемую для синхронизации. Остальные интервалы закреплены за 49 станциями. Эти станции имеют привилегию при формировании полнодуплексных контуров по требованию. Распределение по требованию осуществляется следующим образом. Предположим, что станция Si желает установить канал связи со станцией Sj. Si случайным образом выбирает подканал из доступных незанятых каналов и передает идентификатор подканала и адрес станции Sj во временной интервал станции Si . Примерно через 0,25 с станция Sj получит запрос по нисходящему каналу связи. Если предположить, что подканал остался доступным и что доступна станция Sj, то она передаст подтверждение в свой собственный временной интервал, который станция Si , получит еще через четверть секунды. Когда сеанс связи завершится, во временном интервале одной из станций будет передана информация о разъединении, чтобы уведомить другие станции о том, что подканал снова свободен.
Так как в описанной схеме могут участвовать только 49 станций, для распределения по требованию большинство подканалов не нужны и используются по обычной схеме FAMA SCPC.